彦根藩の当主である井伊直孝公をお寺の門前で手招き雷雨から救ったと
伝えられる招き猫と井伊軍団のシンボルとも言える赤備え(戦国時代の
井伊軍団編成の一種、あらゆる武具を朱りにした部隊編成のこと兜(か
ぶと)を合体させて生まれたキャラクタ-。

【季語と短歌:6月10日】
お黙りと妻に諭され虞美人草 
高山 宇(弱鬼)
📝 The poppy is told by my wife to stay quiet.
開発当初、「光触媒」における「太陽エネルギー変換効率」、つまり太陽
エネルギーを使ってどのくらい水から水素を作り出すことができるのか
について、植物の光合成と同じくらい(0.2~0.3%)。前回の記事では、
水素と酸素を別々の光触媒で生成する「タンデムセル型光触媒」。2017年
度に効率が3.7%まで上昇、2019年には5.5%を達成、「窒化タンタル」と
呼ばれる光触媒を利用することで、光を透過しやすい赤色透明という特
徴を持つ電極を開発。現在はさらに7.0%まで上昇している。
![]()
✳️ 海水循環システム試論 ②
1️⃣ 1️⃣ ナノフィルター構築編 ⑪
⚪ 「膜」でCO2有効利用技術(CCU)
🔵CO2有効利用 とは何か
2050年カーボンニュートラルの実現に向けてCCU(Carbon dioxide Ca-
pture and Utilization:CO2有効利用)が注目されている。
CCUは、一般的に油層内に炭酸ガス等を注入して原油回収率を高める石
油増進回収(EOR:Enhanced Oil Recovery)、工業(溶接や飲料向けな
ど)や農業(施設園芸向けなど)での①物理的利用と、CO2を他の物質と
合成し化学品を生成する②化学的利用に大別される。②CCUの技術領域
別では、人工光合成、コンクリートやセメントへの利用、植物の光合成
促進などの特許数増加率が高く、そのなかでも特にナノ構造体や植物工
場向け技術が注目されている。③ CCUに関連する技術については、多く
のプレーヤーが研究・開発を進めているため、社会実装に向けて関係企
業の協業が活発化することが考えられている。 
【まとめ】CCSは二酸化炭素を大気中に排出することなく補集し、地下
深くに貯留する技術。CCUは、二酸化炭素を大気中に排出することなく
捕集し、それを様々な形で再利用する技術を指す。貯留するのではなく、
有用な製品やエネルギー源として活用することに焦点を当てる。CCUSは
CCSに加え、CO2を貯留するだけでなく、様々な形で再利用する技術。
これらCCS・CCU・CCUSの導入メリットは、CO₂排出量を効果的に削減
できたり、再エネの普及を加速したりすることである、その一方で、導
入には、コストをできるだけ安くする、バリューチェーンを構築すると
いった課題もある。このようにCCS・CCU・CCUSは、世界で注目されて
いる技術であり、導入によりメリットが得られる一方で課題も存在する
ため、企業の脱炭素経営を積極的に進めるサステナ担当者の方は、CCS・
CCU・CCUSについて十分理解しておこう!
✳️ 特許CO2有効利用技術
1️⃣ 特開2023-108626 光触媒、及び炭化水素の製造方法 国立大学法人
千葉大学(請求前)
【要約】金属酸化物半導体及び炭素系半導体から選択される少な光照射
により二酸化炭素及び/又は一酸化炭素を効率良く還元でき、一実施形
態において二酸化炭素を炭化水素に変換できる光触媒を提供くとも1種
により構成される担体と、該担体に担持された金属コバルト含有成分と
を含む、光照射により二酸化炭素及び/又は一酸化炭素を還元するため
の光触媒。光照射により二酸化炭素及び/又は一酸化炭素を効率良く還
元でき、一実施形態において二酸化炭素を炭化水素に変換できる光触媒
を提供する。
【特許請求の範囲】
【請求項1】 金属酸化物半導体及び炭素系半導体から選択される少なく
とも1種により構成される担体と、前記担体に担持された金属コバルト
含有成分とを含む、光照射により二酸化炭素及び/又は一酸化炭素を還
元するための光触媒。
【請求項2】前記金属酸化物半導体が、酸化ジルコニウム、酸化チタン
、酸化亜鉛、酸化スズ、酸化ニオブ、チタン酸ストロンチウム、オキシ
塩化ビスマス、バナジン酸ビスマス、酸化ガリウム、酸化モリブデン、
酸化タングステン、酸化鉄、酸化セリウム、及びタンタル酸カリウムか
ら選択される少なくとも1種であり、前記炭素系半導体が、グラフェン、
カーボンナノチューブ及びグラファイトから選択される少なくとも1種
である、請求項1に記載の光触媒。
【請求項3】前記担体が、酸化ジルコニウムにより構成される、請求項
1に記載の光触媒。
【請求項4】前記金属コバルト含有成分の担持量が、前記光触媒中、コ
ルト原子換算で1~35重量%である、請求項1に記載の光触媒。
【請求項5】前記金属コバルト含有成分の担持量が、前記光触媒中、コ
バルト原子換算で2~15重量%である、請求項1に記載の光触媒。
【請求項6】前記金属コバルト含有成分が、金、銀、銅、鉄、ニッケル
モリブデン、亜鉛、インジウム、白金、パラジウム、イリジウム、セレ
ン、錫及びレニウムから選択される少なくとも1種の金属をさらに含有
する、請求項1に記載の光触媒。
【請求項7】光照射により二酸化炭素及び/又は一酸化炭素を還元して
炭化水素を製造するための、請求項1に記載の光触媒。
【請求項8】水素ガス及び/又は水分含有雰囲気下で、請求項1~7の
いずれか一項に記載の光触媒と、二酸化炭素及び一酸化炭素から選択さ
れる少なくとも1種とを接触させながら、紫外光及び可視光のいずれか
一方又は双方を含む光を前記光触媒に照射して、炭化水素を生成させる
工程を含む、炭化水素の製造方法。
【請求項9】前記工程における雰囲気温度が、200℃未満である、請
求項8に記載の炭化水素の製造方法。
【請求項10】前記炭化水素が、炭素数1~4の飽和炭化水素及び炭素
数2~4の不飽和炭化水素から選択される少なくとも1種を含む、請求
項8に記載の炭化水素の製造方法。
【請求項11】前記炭化水素が、メタン、エタン、プロパン、ブタン、
エチレン、プロピレン、ブテン及びブタジエンから選択される少なくと
も1種を含む、請求項8に記載の炭化水素の製造方法。
【図面の簡単な説明】【0008】
図1、キセノンアークランプの波長に対する光強度分布
図2、還元Co(7.5重量%)-ZrO2(550℃水素還元)触媒
を用いたCO2光還元反応による炭化水素の生成量の時間プロット
図3、還元Co(5.0重量%)-ZrO2(550℃水素還元)触媒
を用いたCO光還元反応による炭化水素の生成量の時間プロット
図4、還元Co(7.5重量%)-ZrO2(550℃水素還元)触媒を
用いたCO光還元反応による炭化水素の生成量の時間プロットである。
図5は、CO光還元反応による炭化水素の生成量の時間プロット
【0030】 [光触媒の製造方法]
本開示の光触媒の製造方法は、金属コバルト含有成分が担持された金属
酸化物半導体又は炭素系半導体を製造できれば特に限定されない。上記
担体に担持されたコバルト含有成分が例えばコバルト酸化物である場合
は、コバルト酸化物を還元する必要がある。【0031】
一実施形態において、本開示の光触媒の製造方法は、金属酸化物半導体
及び炭素系半導体から選択される少なくとも1種とコバルト含有化合物
とを混合して混合物を得る工程と、混合物に対して還元処理を行う工程
とを含む。【0032】
還元処理としては、例えば、還元剤を用いる液相還元法、及び水素ガス
を用いる接触還元法が挙げられる。液相還元法及び接触還元法のいずれ
か一方を用いてもよく、両者を併用してもよい。【0033】
液相還元法におけるコバルト含有化合物としては、溶媒中に溶解可能
であれば特に限定されず、例えば、硝酸コバルト、硫酸コバルト、酢酸
コバルト及び塩化コバルトなどのコバルト塩、並びにこれらの水和物が
挙げられる。これらの中でも、硝酸コバルト及びその水和物が好ましい。
上記溶媒としては、例えば、水及び有機溶媒が挙げられ、水が好ましい。
コバルト含有化合物は1種又は2種以上用いることができる。【0034】
液相還元法における還元剤としては、例えば、水素化ホウ素ナトリウム、
水素化ホウ素カリウム及び水素化ホウ素リチウム等の水素化ホウ素化合
物、水素化シアノホウ素化合物、ジメチルアミノボラン等のボラン化合
物、ヒドラジン化合物、金属ナトリウム、並びに金属ヒドリドが挙げら
れる。これらの中でも、水素化ホウ素化合物が好ましく、水素化ホウ素
ナトリウムがより好ましい。還元剤は1種又は2種以上用いることがで
きる。【0035】
還元剤の添加量は、コバルト含有化合物におけるコバルト原子1モル
に対して、好ましくは0.2~100モル、より好ましくは0.5~2
0モルである。これにより、良好にコバルトを還元できる。【0036】
液相還元法の具体例としては、金属酸化物半導体及びコバルト含有化合
物を溶媒中に浸漬し、還元剤を加え、必要に応じて撹拌してコバルトを
還元し、ろ過及び乾燥処理等により溶媒を除去する方法が挙げられる。
これにより、一実施形態において、金属コバルト含有成分が担持された金
属酸化物半導体が得られる。炭素系半導体についても同様である。
【0037】金属コバルトは空気中において酸化されやすいため、一実
施形態において、金属酸化物半導体とコバルト含有化合物との混合物に
対して、液相還元法による処理を行った後、水素ガスを用いる接触還元
法による処理をさらに行うことが好ましい。炭素系半導体についても同
様である。液相還元法による処理を行った後、不活性ガスで満たしたグ
ローブボックス内で光触媒を反応装置内に移し、大気に触れないで用い
ることも非常に好ましい。これにより、光触媒の活性をより向上できる。
【0038】 接触還元法では、例えば、水素ガス、及び水素ガスと不
活性ガス(例:窒素ガス、ヘリウムガス、アルゴンガス)との混合ガス
が用いられる。混合ガス中の水素ガスの割合は、好ましくは20モル%
以上、より好ましくは50モル%以上、さらに好ましくは80モル%
以上である。【0039】
水素ガスを用いる接触還元法において、雰囲気温度は、好ましくは20
0~800℃であり、より好ましくは300℃以上、さらに好ましくは4
00℃以上、特に好ましくは500℃以上であり、より好ましくは75
0℃以下、さらに好ましくは700℃以下、特に好ましくは650℃以
下である。接触還元法による処理時間は、例えば、1分~10時間であ
る。これにより、コバルト酸化物を金属コバルトに良好に還元できる。
【0040】 金属コバルトの酸化を避けるという観点から、本開示の光
触媒を、その使用直前まで非酸化性雰囲気下に保管することが好ましい。
非酸化性雰囲気としては、例えば、窒素ガス、ヘリウムガス及びアルゴ
ンガスなどの不活性ガス雰囲気、並びに、水素ガスなどの還元ガス雰囲
気が挙げられる。【0041】
[炭化水素の製造方法]
一実施形態において、本開示の炭化水素の製造方法は、水素ガス及び
/又は水分含有雰囲気下で、本開示の光触媒と、二酸化炭素及び一酸化
炭素から選択される少なくとも1種とを接触させながら、紫外光及び可
視光のいずれか一方又は双方を含む光を光触媒に照射して、炭化水素を
生成させる工程(以下「工程(1)」とも記載する)を含む。一実施形
態において、工程(1)では、本開示の光触媒と、二酸化炭素及び一酸化
炭素から選択される少なくとも1種並びに水素ガスを含む混合ガスとを
接触させながら、紫外光及び可視光のいずれか一方又は双方を含む光を
光触媒に照射して、炭化水素を生成させる。【0042】
本開示では、光照射により二酸化炭素及び/又は一酸化炭素から、炭化
水素を生成できる。炭化水素の具体例は上述したとおりである。炭化水
素としては、特に、一分子中に炭素数1のメタン、エタン及びエチレン
などの炭素数2の炭化水素、プロパン及びプロピレン等の炭素数3の炭
化水素、ブタン、ブテン及びブタジエン等の炭素数4の炭化水素が挙げ
られる。このように、光照射により、二酸化炭素から炭素数2以上の炭
化水素を生成する光触媒は、従来技術において通常見られるものではな
い。本開示の光触媒は、例えば、都市ガスのみならず、プロパンガスな
どの燃料のインフラストラクチャーの設計に寄与することができ、また、
反応条件を調整することにより、例えば、燃料として有用な炭素数1~
4の飽和炭化水素(メタン、エタン、プロパン、ブタン等)を生成した
り、反応原料として有用な炭素数2~4の不飽和炭化水素(エチレン、プ
ロピレン、ブテン、ブタジエン等)を生成したりすることもできる。例え
ばガス分離モジュールを用いて、所望の成分を選択的に得ることができ
る。【0043】
工程(1)は、水素ガス含有雰囲気下に行うことができる。二酸化炭素
(CO2)又は一酸化炭素(CO)1モルに対する水素ガス(H2)の供
給量は、好ましくは0.1~40モルであり、より好ましくは0.5モ
ル以上、さらに好ましくは1モル以上であり、また目的物や触媒活性に
応じて2モル以上又は5モル以上でもよく、より好ましくは30モル以
下、さらに好ましくは20モル以下である。これにより、例えば、上記
担体に担持された金属コバルト含有成分の活性を良好に維持しながら、
二酸化炭素を還元できる。【0044】
水素ガスの供給量を調整することにより、あるいは、反応時間を調整
(例えば生成物を採取するタイミングを調整)することにより、例えば、
炭素数1のメタンと炭素数2以上の炭化水素との生成比や、飽和炭化水
素と不飽和炭化水素との生成比を調整することができる。例えば水素ガ
スの供給量が大きい場合は、飽和炭化水素の生成量が大きくなる傾向に
あり、水素ガスの供給量が小さい場合は、不飽和炭化水素の生成量が大
きくなる傾向にある。特に、多段階水素化過程を制御することにより、
付加価値の高いエチレン及びプロピレンへの転換を容易に行うことがで
きる。一実施形態において、一酸化炭素(CO)1モルに対する水素ガ
ス(H2)の供給量が0.1~5モルの条件で反応を行う場合に、反応初
期(例えば反応開始から4時間まで)において、エチレン及びプロピレ
ンなどの不飽和炭化水素を効率的に得ることができる。【0045】
上記混合ガスは、窒素ガス、ヘリウムガス及びアルゴンガス等の不活性
ガスを、例えば搬送ガスとして含んでもよい。【0046】
工程(1)は、水分含有雰囲気下、又は水素ガス及び水分含有雰囲気
下に行うこともできる。水も、二酸化炭素を還元するための水素供給源
となりえる。二酸化炭素又は一酸化炭素1モルに対する水の供給量は、
上記担体に担持された金属コバルト含有成分の活性を良好に維持しなが
ら、二酸化炭素を還元するという観点から、一実施形態において、0.
01~10モルであり、好ましくは0.1~5モルである。【0047】
工程(1)において光触媒に照射される光は、紫外光及び可視光のい
ずれか一方又は双方を含む。紫外光が上記担体における電荷分離を誘起
して、二酸化炭素を一酸化炭素に還元し、可視光が金属コバルトを加熱
して水素ガスを活性化し、一酸化炭素をメタン等に変換すると推測され
ることから、光触媒に照射される光は、紫外光及び可視光を含むことが
好ましい。【0048】
上記光は、例えば、波長200~800nmの光を含む。上記光は、
波長200~715nmの光を少なくとも含むことが好ましい。上記光
は、波長200~320nmの光と、波長320nm超520nm以下
の光、及び/又は波長520nm超715nm以下の光とを少なくとも含
むことがさらに好ましい。【0049】
上記光の照射量は、好ましくは1~1000mW/cm2であり、より
ましくは10mW/cm2以上であり、より好ましくは500mW/c
m2以下である。上記光として、例えば太陽光を用いてもよい。【0050】
工程(1)における雰囲気温度は、特に限定されず、常温で行うこと
ができる。一実施形態において、工程(1)における雰囲気温度は、好
ましくは200℃未満、より好ましくは150℃以下、さらに好ましく
は100℃以下、よりさらに好ましくは50℃以下であり、好ましくは
5℃以上、より好ましくは10℃以上である。このような温度範囲であ
っても、本開示の炭化水素の製造方法では、光照射により、炭化水素の
高い生成速度を達成できる。【0051】
反応形式は、例えば本開示の光触媒と二酸化炭素及び水素ガスを含む
混合ガスとを効率的に接触できれば特に制限はなく、例えば、固定床、
流動床及び移動床で反応を行わせることができる。本開示の光触媒は、
粉末のまま用いてもよく、成型して用いてもよい。反応圧力については
特に制限されない。【0052】
本開示の光触媒を用いた二酸化炭素の光還元反応(水素化反応)にお
ける生成物は、主として炭化水素であるが、一酸化炭素及び水等の副生
成物を含んでもよい。【0053】
本開示の光触媒を用いることにより、既存の化石燃料の使用に伴う不
可逆な二酸化炭素の生成に対して、該二酸化炭素を燃料に戻すカーボン・
ニュートラル・サイクルを形成できる。例えば、既存の石油化学系イン
フラストラクチャーを活用して、シンプルな設備で燃料又は反応原料を
得ることができる。したがって、本開示の光触媒は、地球温暖化及びエ
ネルギー問題の解決に寄与できる。【0054】
本開示は、例えば以下の[1]~[11]に関する。
[1]金属酸化物半導体及び炭素系半導体から選択される少なくとも
1種により構成される担体と、該担体に担持された金属コバルト含有成
分とを含む、光照射により二酸化炭素及び/又は一酸化炭素を還元する
ための光触媒。
[2]金属酸化物半導体が、酸化ジルコニウム、酸化チタン、酸化亜鉛、
酸化スズ、酸化ニオブ、チタン酸ストロンチウム、オキシ塩化ビスマス、
バナジン酸ビスマス、酸化ガリウム、酸化モリブデン、酸化タングステ
ン、酸化鉄、酸化セリウム、及びタンタル酸カリウムから選択される少
なくとも1種であり、炭素系半導体が、グラフェン、カーボンナノチュー
ブ及びグラファイトから選択される少なくとも1種である、上記[1]
に記載の光触媒。
[3]担体が、酸化ジルコニウムにより構成される、上記[1]又は[
2]に記載の光触媒。
[4]金属コバルト含有成分の担持量が、光触媒中、コバルト原子換算
で1~35重量%である、上記[1]~[3]のいずれかに記載の光触媒。
[5]金属コバルト含有成分の担持量が、光触媒中、コバルト原子換算
で2~15重量%である、上記[1]~[4]のいずれかに記載の光触媒。
[6]金属コバルト含有成分が、金、銀、銅、鉄、ニッケル、モリブデ
ン、亜鉛、インジウム、白金、パラジウム、イリジウム、セレン、錫及
びレニウムから選択される少なくとも1種の金属をさらに含有する、上
記[1]~[5]のいずれかに記載の光触媒。
[7]光照射により二酸化炭素及び/又は一酸化炭素を還元して炭化水
素を製造するための、上記[1]~[6]のいずれかに記載の光触媒。
[8]水素ガス及び/又は水分含有雰囲気下で、上記[1]~[7]の
いずれかに記載の光触媒と、二酸化炭素及び一酸化炭素から選択される
少なくとも1種とを接触させながら、紫外光及び可視光のいずれか一方
又は双方を含む光を光触媒に照射して、炭化水素を生成させる工程を含
む、炭化水素の製造方法。
[9]上記工程における雰囲気温度が、200℃未満である、上記[8]
に記載の炭化水素の製造方法。
[10]上記炭化水素が、炭素数1~4の飽和炭化水素及び炭素数2
~4の不飽和炭化水素から選択される少なくとも1種を含む、上記[8]
又は[9]に記載の炭化水素の製造方法。
[11]上記炭化水素が、メタン、エタン、プロパン、ブタン、エチレ
ン、プロピレン、ブテン及びブタジエンから選択される少なくとも1種
を含む、上記[8]~[10]のいずれかに記載の炭化水素の製造方法。
表1に、13CO2及び13COの光還元・変換反応の結果を示す。
【表1】

酸化ジルコニウム上に金属コバルト含有成分が担持された複合触媒に
CO2及びH2雰囲気で紫外・可視光を照射すると、メタンに加えて、エタ
ン及びプロパンが生成した(実施例4に関する図2参照)。このように、
上記複合触媒を用いると、メタンの生成に加えて、C-C結合形成反応
が起きることが見出された。【0066】
還元ZrO2を光触媒として用いた場合は、主にCOのみが生成した(
比較例1)。H2で還元処理されていないCo3O4-ZrO2を光触媒と
して用いた場合も、主にCOのみが生成した(比較例2)。これに対し
て、還元Co-ZrO2を用いた場合は、上述したように、メタン、エ
タン及びプロパンから選択される少なくとも1種の炭化水素が主に生成
した(実施例1~6)。以上の結果から、高温でのH2還元処理が、酸化
ジルコニウム上にコバルト含有成分が担持された複合触媒を用いたCO2
の光還元において重要であると考えられる。【0067】
還元Co(7.5重量%)-ZrO2(550℃)が最も高い触媒活性
を示した(実施例4)。実施例1~6での各生成物の生成比(モル比)は、
多少の変動はあるものの、おおよそ一定となっている。したがって、実
施例1~6の条件では、同じ反応機構を経て反応が進行していると推測
される。【0068】
13CO2の代わりに13COを用い、2.3kPaの13CO及び21.7
kPaのH2を反応器に導入した(実施例7に関する図3参照、実施例
7~8)。実施例7~8でも、各生成物の生成比(モル比)が、おおよ
そ一定となっている。物質量比で13C2H6及び13C3H8の生成比が炭化
水素全体の13%程度まで上昇した。13C2H6及び13C3H8の生成比が
増加していることから、C-C結合形成反応は金属コバルト表面に存在
するCHOH種やCHx種の濃度に依存していると推測される。【0069】
多段階水素付加の過程を遅くさせるため、2.3kPaの13CO及び2.
3kPaのH2を反応器に導入した(実施例9、図4参照)。その結果、13
C2H4の生成が確認された。生成量のプロットは逐次反応のグラフとな
り、2CH2→ C2H4 → C2H6の素過程での反応速度定数はそれぞれ
0.51s-1、0.0077s-1と求められた。0~2時間までの生成
速度は5.5μmol・h-1・g-1であり、また、全生成物の25%程
度が13C2H4であった。【0070】
13CO及びH2雰囲気で、光触媒として還元Co(7.5重量%)-Zr
O2(550℃)を用いて光還元試験を行った場合(実施例8及び9)、
H2圧を21.7kPaから2.3kPaに下げると光触媒反応全体が
抑制され、また、エチレン生成が確認された(図5(A)(1)及び(
2))。エチレンは逐次反応の中間物質であり、さらにエタンに転換された。
【0071】 13CO及びH2雰囲気で、光触媒として還元Co(7.5
重量%)-ZrO2(700℃)を用いて光還元試験を行った場合、H2
圧を21.7kPaから2.3kPaに下げると(実施例9a)、やはり
光触媒反応全体が抑制され、プロピレンはその生成速度が低速になった
ものの定常生成した一方、エチレンは逐次反応的にエタンに転換された
(図5(B))。特に光触媒として還元Co(7.5重量%)-ZrO2(
700℃)を用い、13CO圧が2.3kPa、H2圧が2.3kPaの
条件での光還元試験を行った場合、反応初期3~4時間までは炭素水素
生成物の内、エチレンが主生成物となった。
【0072】光照射に用いた光の波長カットを、各々のファイバーライ
ト出口に設置されたシャープカットフィルターを用いて行った。型番「
UV32」及び「Y52」(厚さがそれぞれ2.5mm;HOYA(株
)製)のフィルターを、それぞれ、波長λ>320nm及びλ>520n
mの光を透過させるために用いた。光触媒として還元Co(7.5重量
%)-ZrO2(550℃)を用いたCO2の光還元反応を、13CO2(
2.3kPa)及びH2(21.7kPa)の条件で行った。結果を
表2に示す。
【表2】
ZrO2のバンドギャップが5.0eV(λ=248nm)程度であるこ
とから、紫外光をカットすることで炭化水素の生成速度が低下するもの
の、入射光の波長が320nm超でも520nm超でも活性がある。こ
れはZrO2表面の酸素欠陥サイトに吸着したCO2分子が反応しやすい
ためであると考えられる。
2️⃣ 特開2025-25579 還元化合物の製造方法 国立大学法人千葉大学・
株式会社中村超硬(請求前)
【要約】還元触媒の存在下で還元される化合物と水素ガスとを反応させ
る、還元化合物の製造方法であって、マイクロミキサーを用いた製造方
法で、還元化合物の製造方法、ピロール・イミダゾールポリアミドの製
造方法及び還元化合物製造システムを提供する。
【符号の説明】【0170】
1 フロー合成装置用マイクロミキサー 2 フロー合成装置
10 六方切替バルブ 11 気相供給用流路 12 液相供給用流路
13 回収用流路; 4 合成用流路 15 サンプルループ 15a
一方端 15b 他方端 16、19 逆止弁 17 マスフローコント
ローラー 18 気相ボンベ;20 ポンプ 21 液相容器 22 廃棄
槽 23 反応槽 24 回収容器 A、B、C、D 気相と液相の境界。
【発明の効果】【0027】
本発明によれば、気相と液相とをマイクロミキサーにより合流させて
連続して気液反応をさせるフロー合成を行う際に、供給する気相と液相
に圧力差があっても、液相が気相の供給用流路側に逆流することなく、
気相と液相とを所定の量比で合流させることが可能なマイクロミキサー
を備えたフロー合成装置を用いた還元化合物の製造方法及び還元化合物
の製造システムを提供することができる。また、本発明によればピロー
ル・イミダゾールポリアミドの製造方法をも提供することができる。
【図面の簡単な説明】
【図1】本発明の実施形態に係るフロー合成装置用マイクロミキサー及
びこれを有するフロー合成装置の概要及びその流路構成を説明するため
の説明図である。
【図2】図1に示す実施形態に係るマイクロミキサーにおいて、六方切
替バルブが第1流路の流路構成の場合に、サンプルループに気相を流入
させた時の状態を説明するための説明図である。
【図3】図2に示す状態から、六方切替バルブを第2流路に切り替えた
直後の状態を説明するための説明図である。
【図4】図3に示す状態から、サンプルループに液相を流入させ、サン
プルループ内の気相を液相により押し出して、合成用流路に流出させる
とともに、気相を気相供給用流路から回収用流路に流出させている状態
を説明するための説明図である。
【図5】図4に示す状態から、六方切替バルブを第1流路に切り替えた
直後の状態を説明するための説明図である。
【図6】図5に示す状態から、サンプルループ内に気相を流入させ、サ
ンプルループ内の液相を気相により押し出して、回収用流路に流出させ
るとともに、液相を液相供給用流路から合成用流路に流出させている状
態を説明するための説明図である。
【図7】図6に示す状態から、六方切替バルブを第2流路に切り替えた
直後の状態を説明するための説明図である。
【図8】実験例において、実施形態に係るマイクロミキサーを用いて気
相と液相とを連続して交互に合成用流路に流出させたときの様子を示し
た撮像である。
【発明を実施するための形態】
【0029】
[還元化合物の製造方法]
[還元化合物の製造システム]
<マイクロミキサーを備えたフロー合成装置>
本発明の製造方法は、マイクロミキサーを備えたフロー合成装置を用い
る。以下にマイクロミキサーを備えたフロー合成装置について詳述する。
以下、図面に基づきマイクロミキサーを備えたフロー合成装置の実施形
態を説明するが、本発明はこうした例に何ら限定されるものではなく、
本発明の要旨を逸脱しない範囲において種々の形態で実施し得ることは勿
論である。【0030】
図1は、本発明の製造方法で使用するフロー合成装置用マイクロミキサ
ー(以下「マイクロミキサー」と称する場合がある。)1及びこれを有
するフロー合成装置2の流路構成を説明するための説明図である。
【0031】
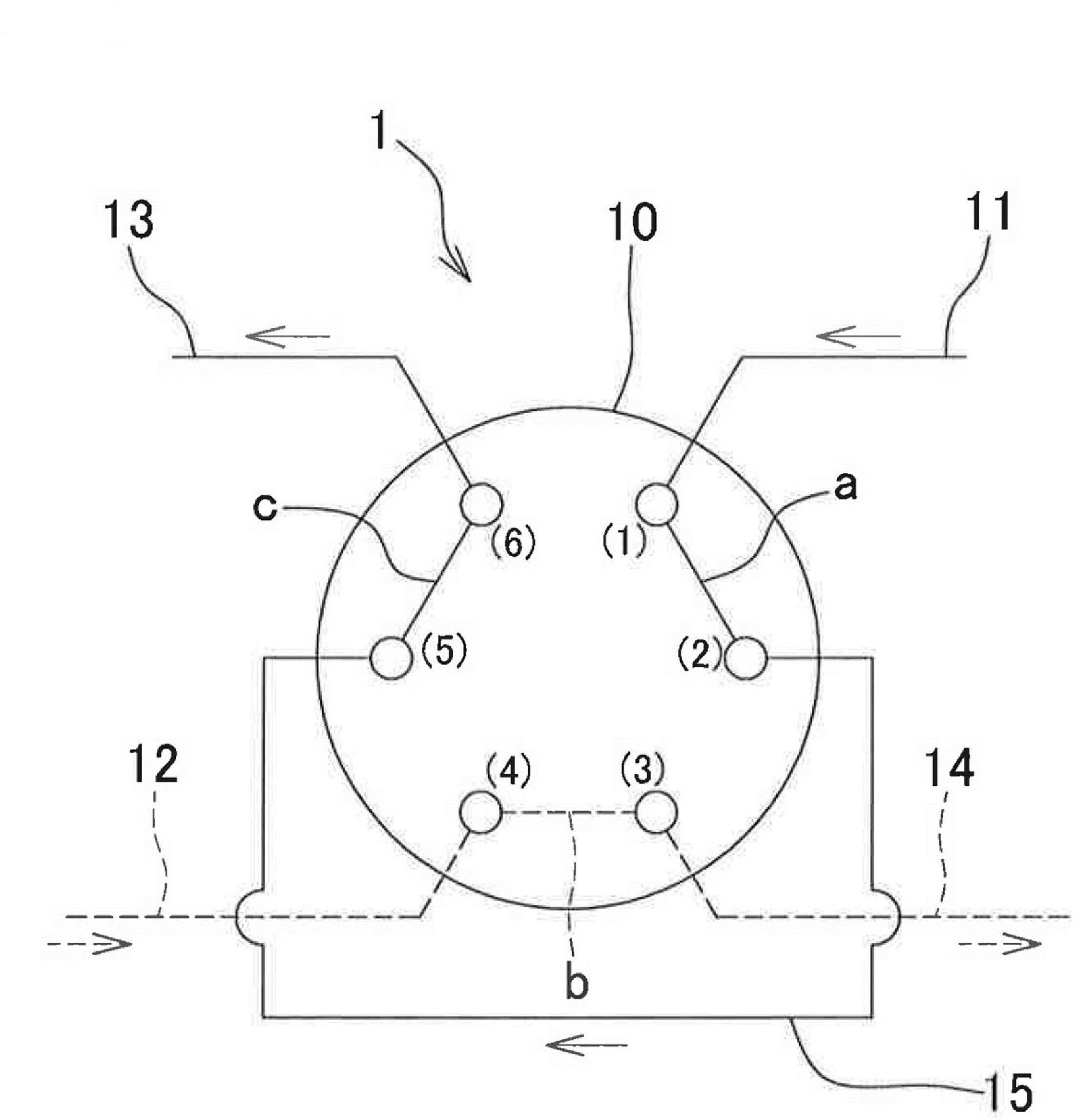
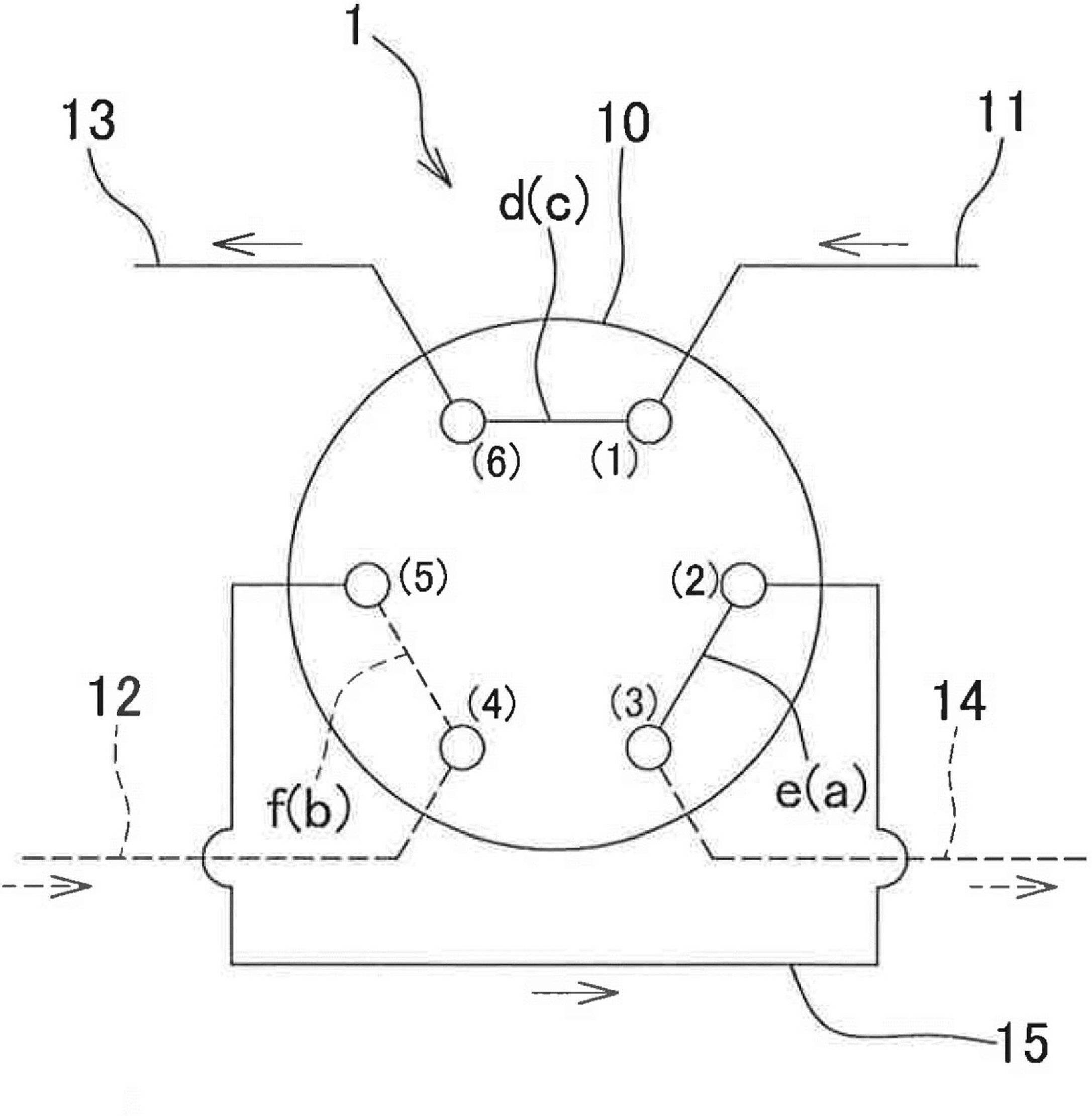
図1に示すように、マイクロミキサー1は、六方切替バルブ10、気
相供給用流路11、液相供給用流路12、回収用流路13、合成用流路
14、サンプルループ15を有する。また、六方切替バルブ10は、ポ
ート(1)~(6)を有し、ポート(1)が気相供給用流路11と連結
する気相供給口、ポート(2)がサンプルループ15の一方端(第1端)
15aと連結する第1のサンプルループ用開口、ポート(3)が合成用
流路14と連結する合成用流出口、ポート(4)が液相供給用流路12
と連結する液相供給口、ポート(5)がサンプルループ15の他方端(
第2端)15bと連結する第2のサンプルループ用開口、ポート(6)
が回収用流路13と連結する回収用流出口に対応する。【0032】
本発明の好ましい態様において、前記サンプルループ用開口が、第1
開口と第2開口を有し、 前記気相供給口、前記サンプルループ用開口
の第1開口、前記合成用流出口、前記液相供給口、前記サンプルループ
用開口の第2開口及び回収用流出口が、この順で時計回り又は反時計回
りに前記六方切替バルブに設けられている。
具体的には、図1に示す例では、ポート(1)~(6)がその順に時
計回りに同一円周上に配置されている。各ポートの円周上の間隔は、後
述する第1流路と第2流路が形成されれば特に限定はない。図1に示す
例では、円周を6等分して各ポートを設けている。【0033】
図1に示す例では、六方切替バルブ1は、次の第1流路と第2流路とに
切り替え可能となるように構成されている。第1流路は、ポート(1)、
(2)が連通する流路a、ポート(3)、(4)が連通する流路b、ポー
ト(5)、(6)が連通する流路cを形成して、気相供給用流路11とサ
ンプルループ15と回収用流路13が連通すると同時に、液相供給用流
路12と合成用流路14とが連通することで形成される(図1、2、5、
6参照)。第2流路は、ポート(1)、(6)が連通する流路d、ポート(
2)、(3)が連通する流路e、ポート(4)、(5)が連通する流路fを
形成して、気相供給用流路11と回収用流路13が連通すると同時に、
液相供給用流路12とサンプルループ15と合成用流路14とが連通す
ることで形成される(図3、4、7参照)。【0034】
六方切替バルブ1は、例えば、ポート(1)~(6)が設けられたス
テータと、流路a~fを形成するための3つの流路溝が形成されたロー
ターとを備えるロータリーバルブにより構成することができる。ロータ
ーを回転させることにより、第1流路と第2流路とを切り替えることが
できる。【0035】
サンプルループ15は、図1に示す例では、連続して合成用流路14
送液される液相の一部を気相に置き換えて、合成用流路14に気相と液
相を交互に流出させる際に、気相を一時的に貯留する機能を有する。つ
まり、気相と液相の混合比はサンプルループ15内に貯留させる量によ
り調整が可能である。したがって、気相と液相の合成反応の条件を考慮
して、サンプルループ15の長さ等を決定することができる。【0036】
図1に示す例では、フロー合成装置2は、前述のマイクロミキサー1
;気相供給用流路11の上流側に順に設けられる、逆止弁16、気相の
流量を制御するマスフローコントローラー17、気相である水素ガスを
貯留する水素ガスボンベ18;液相供給用流路12の上流側に順に設け
られる、逆止弁19、ポンプ20、液相を貯留する液相容器21;回収
用流路13の下流側に設けられる廃棄槽22;合成用流路14の下流側
に順に設けられる反応部23、生成物を貯留する回収容器24を有する。
【0037】
図1に示す例では、気相ボンベ18、液相容器21はそれぞれ1つの
みであるが、必要に応じて複数設けることができる。尚、気相同士、液
相同士は一般的なマイクロミキサーで混合可能である。反応部23は還
元触媒を備える。還元触媒としては、パラジウム炭素触媒、ニッケル触
媒等の存在下で水素ガスを反応させる接触還元の触媒があげられる。
反応部23には、必要に応じて加熱装置等を設けることができる。
【0038】 図1に示すフロー合成装置2は、六方切替バルブ10、
ポンプ20、逆止弁16、19、マスフローコントローラー17の動作
を制御する制御部を有するものであってもよい。
以下割愛
『思い出の楽曲:裏切りの街角 甲斐バンド』1975年
🔄️ 1975年!誰しも経験するのだが、「吸収と反発の時代」。1989年
の「天安門事変」(バタフライ・エフェクト)に収斂するされていく
道のりであった。
● 今日の言葉:
春が来ても、鳥たちは姿を消し鳴き声も聞こえない。
春だというのに自然は沈黙している。
レイチェル・カーソン 『沈黙の春』

![]()